隔膜阀
1、应用场合
在涉及磨损性或腐蚀性浆料,粉状物或粒状物的关闭或控制操作时,隔膜阀是最佳的选择方案之一。
2、技术参数
尺寸范围:DN20、40、50等
温度范围:0-80℃
公称压力:1.0MPa
关 闭 件:橡胶隔膜
执行标准:
设计与制造标准 GB/T 12239
试验与检验 JB/T9092
结构长度 GB/T 12221
法兰标准 GB/T 9119,1.0MPa
3、性能特点
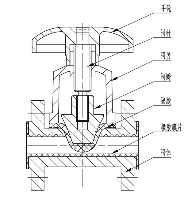
隔膜阀是一种特殊形式的截断阀,其启闭件是一块用软质材料制成的隔膜,它将阀体内腔与阀盖内腔隔开。
3.1 可实现100%气泡级密封,保证下游绝对零泄漏。
3.2 双向全通径流道,减小压降,降低磨损,延长使用寿命。
3.3 自动清洁,不会卡住或堵塞。
3.4 完全免维护设计。
3.5 无金属部件与料浆直接接触。
3.6 模块化设计的隔膜,方便使用者自行更换。
4、法兰连接尺寸
| 公称通径DN | 法兰外径D | 螺栓孔中心圆直径K | 螺栓孔径L | 螺栓 | |
| 数量n | 螺纹规格 | ||||
| 20 | 105 | 75 | 14 | 4 | M12 |
| 32 | 140 | 100 | 18 | 4 | M16 |
| 40 | 150 | 110 | 18 | 4 | M16 |
| 50 | 165 | 125 | 18 | 4 | M16 |
5、阀门材料

| 序号 | 零部件名称 | 材料 | 备注 |
| 1 | 阀体 | HT200/CF8 | |
| 2 | 阀盖 | HT200/CF8 | |
| 3 | 阀瓣 | HT200 | |
| 4 | 阀杆 | 2Cr13/304 | |
| 5 | 隔膜 | 橡胶 | 多种材料可选 |
| 6 | 橡胶膜片 | 橡胶 | 多种材料可选 |
| 7 | 标准件 | 304/316 | |
| 8 | 手轮 | HT200/CF8 | |
| 注:型号不同阀门材质会存在差异。 | |||
